我们专注于使用人工智能技术对文本、影像数据的处理与理解,为用户提升其生产力和决策能力。

引言
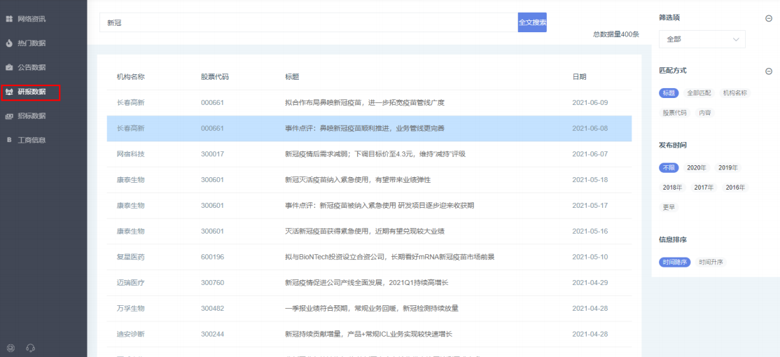
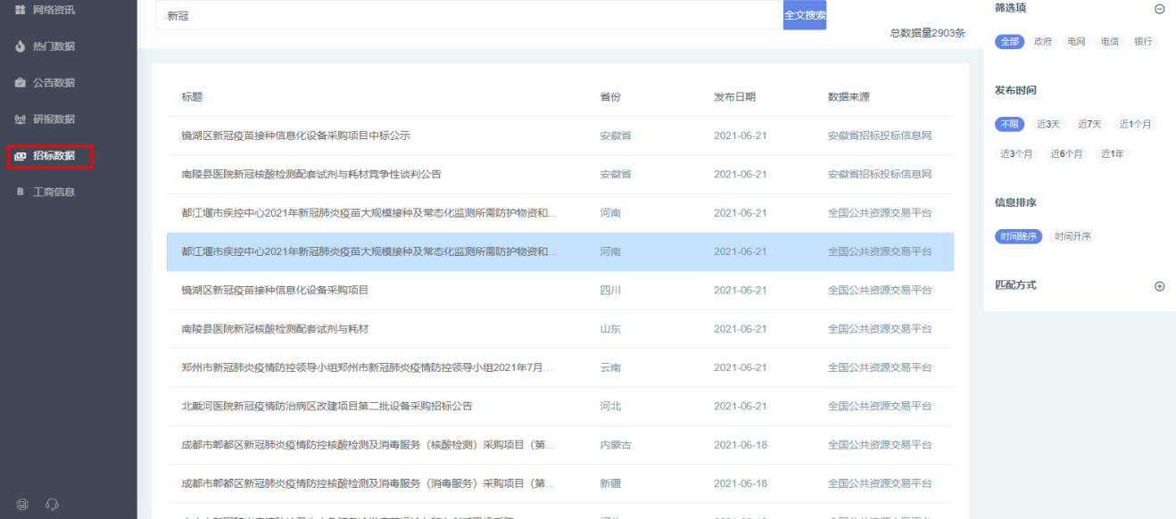
随着信息技术的发展和网络媒体的快速发展,舆情监测已成为各行各业不可或缺的工具。思通数科舆情系统中的情报搜索功能,作为其核心组成部分,能够帮助用户迅速、全面地捕捉互联网、社交平台、新闻媒体等渠道中的各类信息和舆论动态。情报搜索不仅提高了信息获取的效率,还增强了对市场、公众情绪、竞争对手等多维度数据的洞察力。本文将探讨思通数科舆情系统情报搜索的应用场景及其市场意义。













3、结论
思通数科舆情系统的情报搜索功能在各个行业中的应用具有广泛的市场意义。从危机管理到品牌监控,从政策解读到竞争分析,情报搜索为组织提供了快速、精准的信息获取能力,为舆情管理和决策提供了强大的数据支持。在信息爆炸的时代,能够精准抓取、分析并利用这些数据,将使企业和政府机构在应对复杂舆情环境时具备更强的竞争优势和应对能力。
产品体验:https://open-yuqing.stonedt.com/login
更多咨询(请在咨询的时候说明您需要咨询的产品是舆情系统):

全部评论